葉輪給煤機
周先生 13906278080 丁寶勤 13906276368
電話:0513-88400999 傳真:0513-88400998 郵箱:jszk@vip.163.com

產品用途
葉輪給煤機用于火力發電廠縫隙式煤溝,它可沿煤溝縱向軌道行走或停在一處將煤定量、均勻、連續地撥到輸煤皮帶上。本公司現生產的葉輪給煤機按傳統方式分為上傳動和下傳動,按結構型式可分為橋式和門式,按給料方式可分為單側和雙側兩種。廣泛用于煤炭、采礦、冶金、建材、化工等行業。
產品結構
1.主傳動為國內獨創的上(下)支撐、上( 下)傳動結構,傳動系統采用密封式結構。
2.主傳動結構先進,采用變頻調速與硬齒面圓弧傘齒正交行星齒輪減速機,結構極為緊湊,壽命長,傳動可靠。
3.本設備帶有獨特的葉輪移出機構,當葉輪主傳動故障時,不需就地卸掉葉輪爪即可方便地將葉輪移出開到檢修段檢修。
4.葉輪可在出力范圍內無級調速,適應各種運行工況。
5.本設備自帶輪組千斤頂,更換輪組輕松、方便。
6.走行輪組采用第三代輪組,卓越的結構保證了運行時不發生啃軌、出軌、偏離等事故。
7.葉輪帶有防纏軸保護,從而避免了鋼絲繩、鐵絲、石棉繩等雜物纏在軸上不易清理的狀況。
8.主傳動系統采用先進的力矩臂保護,確保設備安全、平穩運行。
9.供電方式為滑觸式或拖纜,本機電控系統與集控盤的組合,極易實現程控、就地控制及遠距離操作。
10.本機配有側傾鎖緊機構及除塵裝置。
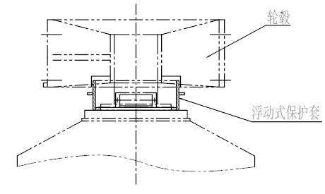
本公司的葉輪給煤機在主傳動減速機輸出軸與輪轂間安裝有浮動式保護套,它可以避免實際運行時因煤中的電線、炮線等纏繞在葉輪給煤機的葉輪上而產生的堵轉,從而保證葉輪給煤機正常工作。(見示意圖)

型號說明

供貨范圍
1.主機 2.電氣控制箱 3.受電裝置
訂貨須知
1.標明選用設備的型號、生產能力、最大給料粒徑、輸煤膠帶寬度。
2.注明安裝形式(左裝或右裝)及煤溝橫、斷而圖。
3.注明傳動方式,結構型式。
4.本公司承攬非標設計和現場技術改造服務。
主要技術參數
| YGM-300 | YGM-600 | YGM-1000 | YGM-300 | ||
出力 | t/h | 100~300 | 200~600 | 300~1000 | 500~1500 | |
物料特性 | 物料粒度 | ㎜ | ≤300 | |||
物料容重 | t/m3 | 0.85-1.00 | ||||
撥煤機構 | 葉輪直徑 | ㎜ | Φ2680 | Φ2680 | Φ3000 | Φ3000 |
電機功率 | KW | 11 | 15 | 22 | 30 | |
葉輪轉速 | rpm | 1.9-5.8 | 2.76-8.33 | 3-10 | 4-12 | |
走行機構 | 電機功率 | KW | 2.2 | |||
走行速度 | m/min | 2.09 | 3.74 | 3.74 | 2.8 | |
車輪直徑 | mm | Φ350 | Φ450 | Φ450 | Φ450 | |
軌道型號 | Kg/m | 18 | 18 | 24 | 24 | |
最大輪壓 | KN | 20 | 25 | 30 | 35 | |
受電狀態 | 受電方式 | 拖纜或滑線(根據用戶需要選擇) | ||||
拖纜(滑線)型號 |
| |||||
支撐型式 | 硬 | |||||
| 適應皮帶寬度 | 650-1600 | ||||
最大分離件 | 尺寸㎜ | 5.5x1.9x0.45 | 6x2.4x0.4 | 7x2.5x0.45 | 7x2.6x0.7 | |
重量t | 1.5 | 2.5 | 3.1 | 3.9 | ||
外形尺寸及外形圖
| L | L1 | H | A | H2 | E | G | W |
YGM-300 | 5700 | 4600 | 910 | 1650 | 450 | 1440 | 1520 | 1600 |
YGM-600 | 6500 | 4500 | 1030 | 1650 | 450 | 1440 | 1520 | 1800 |
YGM-1000 | 7000 | 5000 | 1150 | 1750 | 500 | 1600 | 1680 | 2000 |
YGM-1500 | 7500 | 5000 | 1150 | 1750 | 500 | 1600 | 1680 | 2000 |











